保温材料有哪些种类?保温材料性能指标有哪些?
随着建筑业的快速发展和对节能减排的日益重视,保温材料在建筑节能领域扮演着重要角色。据统计,建筑能耗占全国总能耗的约30%,而优质保温材料可显著降低这一比例(建筑节能研究)。保温材料不仅能减少热量损失,还能提升室内舒适度并增强建筑安全性。

一、保温材料的分类
1. 有机保温材料
有机保温材料以有机聚合物为主要成分,具有重量轻、保温性能好、加工方便等特点,但防火性能通常较弱。常见类型包括:
• 聚苯乙烯泡沫板(EPS):导热系数约为0.039 W/(m·K),成本低,广泛用于外墙保温系统,但防火等级多为B2级。
• 挤塑聚苯乙烯板(XPS):导热系数为0.028-0.030 W/(m·K),防水性和压缩强度优于EPS,适用于地板和墙体,防火等级通常为B2级。
• 聚氨酯泡沫(PU):导热系数为0.024 W/(m·K),保温性能优异,防水性好,常用于屋顶和地下室,防火等级可达B1级。
• 苯酚醛泡沫:导热系数为0.032 W/(m·K),防火性能较好(B1级),适用于需高防火要求的场景,但可能存在粉化和开裂问题。
2. 无机保温材料
无机保温材料以无机物质为主要成分,防火性能优异,耐高温,环保性强,但密度较高,部分材料吸水率较高。常见类型包括:
• 岩棉:导热系数为0.040 W/(m·K),A级防火,适用于高层建筑,但湿区需注意防水。
• 玻璃棉:导热系数为0.042 W/(m·K),重量轻,吸音性能好,A级防火,但需防潮处理。
• 泡沫玻璃:导热系数为0.045-0.062 W/(m·K),不吸水,A级防火,适用于防火隔热带,但生产能耗较高。
3. 复合保温材料
复合保温材料结合有机和无机材料的优点,性能更全面。常见类型包括:
• 无机聚合物保温板:导热系数为0.030 W/(m·K),A级防火,吸水率低,但成本高(约3000元/m³)。
• 纤维增强复合保温板:导热系数为0.0630-0.07 W/(m·K),防火性能和强度均佳,适用于区域性推广。
4. 其他保温材料
一些特殊保温材料因其独特性能而备受关注:
• 气凝胶:导热系数为0.02 W/(m·K),保温性能极佳,耐高温,防水不燃,但成本高,工程应用有限。
• 真空绝热板(VIP):导热系数为0.008 W/(m·K),保温性能最佳,但需维护真空状态,安装复杂。
• 相变保温砂浆:导热系数为0.08 W/(m·K),可调节温度,但实际效果有限,多用于实验室。
二、保温材料的性能指标
1. 导热系数(λ)
导热系数是衡量保温材料隔热能力的核心指标,单位为W/(m·K)。值越低,保温效果越好。例如,真空绝热板的导热系数为0.008 W/(m·K),而泡沫陶瓷板高达0.10 W/(m·K)。
2. 防火等级
根据国家标准GB 8624-97,建筑材料的燃烧性能分为:
• A级(不燃性):几乎不燃烧,如岩棉、玻璃棉、泡沫玻璃。
• B1级(难燃性):遇明火难起火,火源移开后停止燃烧,如特殊处理的XPS、PU。
• B2级(可燃性):遇明火易燃烧,需防火处理,如EPS、XPS。
• B3级(易燃性):极易燃烧,建筑中极少使用。
高层建筑通常要求A级或B1级材料以确保安全(防火等级划分)。

3. 密度
密度影响材料的压缩强度和成本。低密度材料(如EPS,10-30 kg/m³)保温性能好,但强度较低;高密度材料(如岩棉,100-200 kg/m³)更坚固但成本较高。
4. 吸水率
吸水率高的材料(如膨胀玻璃微珠保温砂浆)在潮湿环境中保温性能下降,甚至可能引发霉变。泡沫玻璃和XPS吸水率接近零,适合湿区使用。
5. 压缩强度
压缩强度对承重结构或地面材料至关重要。XPS的压缩强度高于EPS,适合地板保温。
6. 尺寸稳定性
尺寸稳定性差的材料在温度或湿度变化下可能变形或开裂。无机聚合物保温板尺寸稳定性较好,而部分有机材料需特别注意。
7. 使用寿命
优质保温材料的使用寿命可达30年以上(如复合镁硅酸盐保温材料),而低端材料可能仅数年。
8. 成本
成本需与性能平衡。EPS成本低,适合大规模应用;气凝胶成本高,仅用于高端项目。
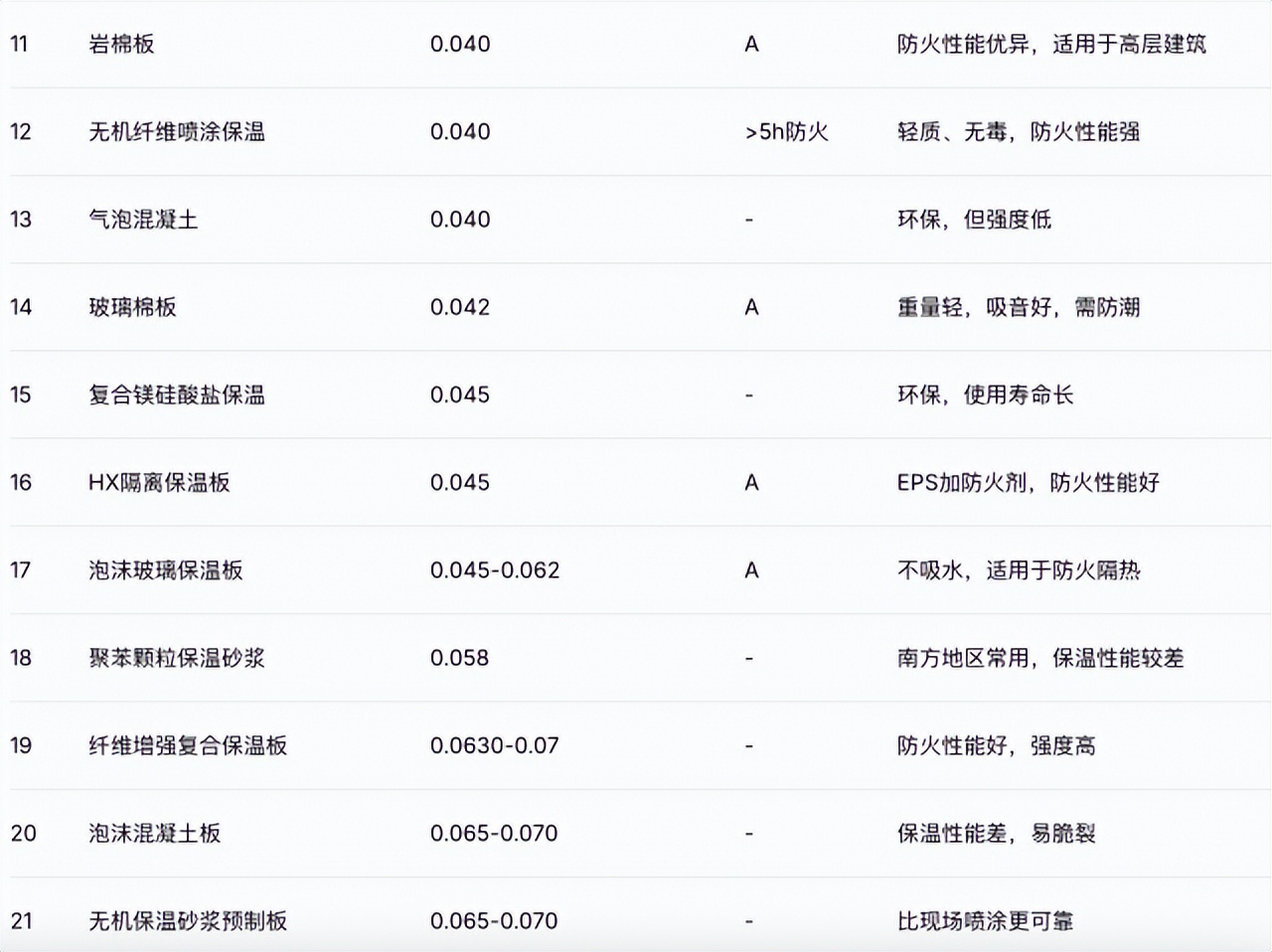
三、常见保温材料性能一览
以下为常见的26种保温材料及其导热系数和防火等级(部分):


四、如何选择合适的保温材料?
1. 项目需求:高层建筑需优先选择A级或B1级防火材料,低层建筑可选择性价比高的EPS。
2. 气候条件:温差大的地区应选择导热系数低的材料,如PU或XPS。
3. 成本预算:在满足性能要求的前提下,选择成本较低的材料。
4. 施工要求:考虑材料的安装难度和维护需求,如EPS安装简便,气凝胶需专业施工。
5. 环保性能:优先选择低污染、环保的材料,如复合镁硅酸盐保温材料。
保温材料的选择直接关系到建筑的能效、安全性和使用寿命。通过综合评估导热系数、防火等级、密度、吸水率等性能指标,并结合项目需求和预算,建筑从业者可以选择最合适的材料。
本站通过AI自动登载部分优质内容,本文来自于头条号作者:家核优居,本站旨在传播优质文章,无商业用途。如不想在本站展示可联系删除
本站部分文章来自网络或用户投稿。涉及到的言论观点不代表本站立场。阅读前请查看【免责声明】发布者:江浸月,如若本篇文章侵犯了原著者的合法权益,可联系我们进行处理。本文链接:https://www.sxhanhai.com/life/156936.html
