VisionPro手势操作下放给iPhone/iPad!苹果新专利出炉
根据最近公示的世界知识产权局(WIPO)清单,苹果公司获得了一项名为《GESTURERECOGNITIONWITHHAND-OBJEC TINTERACTION》的新手势专利,这意味着当前适用于Vision Pro头显的多种空中手势操作可能会应用到iPhone、iPad和MacBook等其他设备上。
这项专利允许设备扫描和识别用户的手势,通过分析扫描数据来识别用户的预定义手势。例如,摄像头可以捕捉用户的手臂图像,或者手部附带的加速度计可以捕捉手部的运动数据。通过分析捕捉到的手势数据并与预定义的手势进行匹配,设备可以实现相关的交互操作。
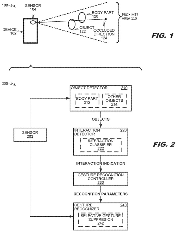
图1展示了手势识别的示例场景100。在场景方案100中,设备102包括一个传感器104,用于扫描包括主体用户身体部位120和另一个物体122的近距离区域110。

在某些方面,物体122可以是近距离区域110中除身体部位120之外的任何物体。
例如,身体部位120可以是一只手,而物体122可以是一支笔或另一只手。身体部位120和其他物体122可以在扫描近距离区域110时进行交互;例如,身体部分120和物体122可能会相互作用,如一方遮挡另一方。
在示例场景100中,身体部分120的一部分可能会被物体122沿着远离传感器104的遮挡方向124遮挡。
在图1未描绘的不同场景中,不同的交互可能包括物体122被身体部分120的一部分遮挡。在一个方面,手势可由身体部分执行,手势识别过程可由扫描中检测到的身体部分120和物体122之间的交互控制。


编辑点评:
这项专利的获批为苹果公司的设备带来了更加灵活和直观的交互方式,不仅是Vision Pro,未来用户可能会在iPhone、iPad和MacBook等设备上享受到更加智能化的手势控制体验。

本文转载于快科技,文中观点仅代表作者个人看法,本站只做信息存储
本站部分文章来自网络或用户投稿。涉及到的言论观点不代表本站立场。阅读前请查看【免责声明】发布者:思娟,如若本篇文章侵犯了原著者的合法权益,可联系我们进行处理。本文链接:https://www.sxhanhai.com/keji/126516.html
